用户登录

您好,欢迎来到,请登录通行证进入会员服务中心。

用户名:

密   码:

注册

热点新闻

近年高阻隔包装工艺专利的分析

新闻来源: 发布时间:2026-01-12 09:44:00

在包装行业,阻隔性 直接关系到产品的安全、功效与体验。今天,我们聚焦首批10项已获授权的 高阻隔包装产品级专利。这些创新覆盖口服液瓶、化妆品真空瓶、农药瓶、食品袋等多种形态,直指 “运输易损、内容物易挥发、光照易变质、使用不便” 等行业共性难题。它们不仅是技术解决方案,更是对 安全性、保鲜度与用户体验 的重新定义。

 
01
 
 
 
 
 
 
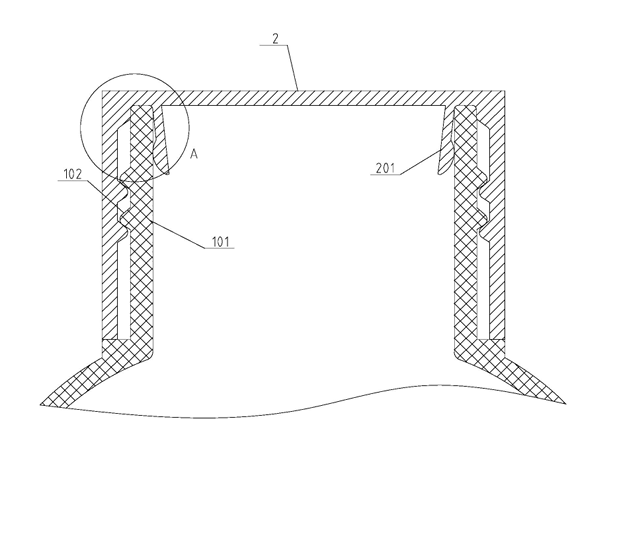
CN202411378792.6 一种耐折的高阻隔瓶
 
 
 
 
 
 
  • 专利类型:发明专利

  • 授权日期:2024.12.13

  • 申请单位:菏泽瑞诚塑料包装有限公司

  • 技术背景:传统PET阻隔瓶在运输中易因碰撞挤压而破损,且耐热性有限,影响内容物安全与保质期。

  • 创新分析:该专利首创“三层瓶体+独立气腔系统”结构。通过在第一、第三层PET瓶体间嵌入带有多腔体的第二层,并利用锁紧环形成可调节气压的独立气腔,实现了三重创新:物理抗冲击(气腔缓冲)、动态密封(拧盖时加压增强气密性)和隔热提升(气腔形成隔热层)。它从被动防护转向主动增强,解决了运输破损与高温存储的行业共性难题。

02
 
 
 
 
 
 
CN202420548210.3 一种带有高阻隔透明易揭拉伸膜的包装袋
 
 
 
 
 
 
  • 专利类型:实用新型专利

  • 授权日期:2024.11.08

  • 申请单位:杭州顶正包材有限公司

  • 技术背景:传统包装袋依赖撕拉开口,力度难控,易导致内容物(如果酱、粉剂)飞溅、洒漏,用户体验差且不卫生。

  • 创新分析:该专利设计了一种“先揭后撕”的二段式开启方案。其核心在于在袋体上加贴一层高阻隔共挤膜,并预设易撕口。用户先完整揭开共挤膜,再根据需求打开易撕口。这解决了开口大小不可控的根本问题,完美适用于液体、粘稠体及粉状产品,是提升消费体验的经典设计创新。

03
 
 
 
 
 
 
CN202420822597.7 一种高阻隔农药塑料瓶
 
 
 
 
 
 
  • 专利类型:实用新型专利

  • 授权日期:2025.01.10

  • 申请单位:浙江湘溪塑业股份有限公司

  • 技术背景:农药瓶在使用时需拧开瓶盖,易丢失或未拧紧导致泄漏,存在安全风险;且传统瓶盖阻隔性有限。

  • 创新分析:该专利的核心是“瓶盖不分离+内置旋转密封阀”。通过双层瓶盖设计,用户仅需旋转内层瓶盖即可驱动瓶口内的弧形滑块开闭流道,瓶盖主体始终与瓶体相连。这从根本上消除了瓶盖丢失和因未盖紧导致的泄漏风险,实现了安全性与高阻隔性的统一,是针对危险化学品包装的针对性解决方案。

04
 
 
 
 
 
 
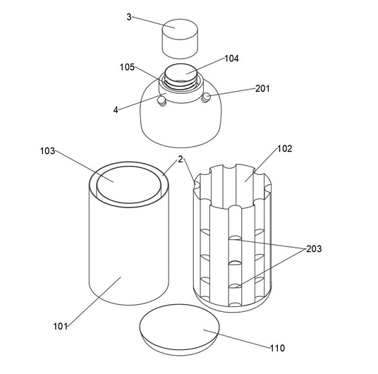
CN202421164308.5 一种高阻隔圆底袋
 
 
 
 
 
 
  • 专利类型:实用新型专利

  • 授权日期:2024.12.31

  • 申请单位:苏州泰格尔新材料有限公司

  • 技术背景:需要直立存放的粉状、颗粒内容物,要求包装具备良好的底部支撑、高阻隔保鲜性以及便捷的封口与标识功能。

  • 创新分析:该专利是一款“功能集成型”包装方案。其创新点在于复合结构(铝箔/EVOH/尼龙/PET等多层共构实现高阻隔)与使用功能(抽绳封口、前置标签放置袋、圆底自立设计)的深度结合。它不仅提供了全面的物理阻隔,更通过人性化附件解决了仓储中的标识识别和反复取用问题,提升了包装的实用性和管理效率。

05
 
 
 
 
 
 
CN202421572740.8 一种防晒抗老化复合型高阻隔瓶
 
 
 
 
 
 
  • 专利类型:实用新型专利

  • 授权日期:2025.06.06

  • 申请单位:盐城腾龙申丰塑业有限公司

  • 技术背景:许多化妆品、保健品内容物对光照敏感,易因紫外线照射而氧化、分解、失效,常规包装瓶无法提供有效避光保护。

  • 创新分析:该专利采用了一种“外置物理屏蔽”的独特思路。它在内胆瓶外设置了一个不透明的隔绝框,如同为包装穿上“防晒外衣”。这种设计比添加遮光母粒或涂层更彻底、成本更低,且能有效防止因光照导致的热老化,显著延长内容物的货架寿命,尤其适用于精油、VC类等光敏性产品。

06
 
 
 
 
 
 
CN202421670903.6 一种高阻隔单向透气阀袋
 
 
 
 
 
 
  • 专利类型:实用新型专利

  • 授权日期:2025.06.06

  • 申请单位:嘉兴星越包装材料有限公司

  • 技术背景:咖啡豆、发酵食品等在储存中会持续释放气体,导致包装鼓胀甚至爆裂,但同时又需要阻隔外部氧气和水分进入。

  • 创新分析:该专利的精髓在于材料复合与阀体功能的协同。袋体采用氧化铝PET/双尼龙层/PE的复合结构,在提供极高水氧阻隔性的同时,通过尼龙层赋予了优异的耐冲击性。结合单向透气阀,实现了 “只出不进”的智能气体管理,完美平衡了内容物后熟排气与外部环境隔绝的矛盾需求。

07
 
 
 
 
 
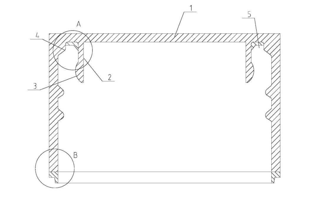
CN202421689061.9高阻隔性口服液体药用聚酯瓶盖
CN202421689077.X 高阻隔性口服液体药用聚酯瓶
 
 
 
 
 
 
  • 专利类型:实用新型专利(双专利)

  • 授权日期:2025.05.30 / 2025.06.17

  • 申请单位:四川德阳环宇医药包装有限公司

  • 技术背景:口服液、糖浆等药品易挥发、易氧化,普通聚酯瓶瓶口密封性不足,是药效流失和保质期缩短的主要薄弱点。

  • 创新分析:这对配套专利通过瓶盖与瓶口的协同设计,构建了多道密封防线。瓶盖内塞底部的凸环与瓶颈内壁形成第一道径向密封;瓶盖内侧的倒角与瓶颈顶部形成第二道轴向密封腔。这种“凸环+倒角腔”的复合密封方式,精准堵住了药液挥发的路径,将药用聚酯瓶的阻隔性能提升到了新高度。

 08
 
 
 
 
 
CN202421939095.9 一种高阻隔真空瓶
 
 
 
 
 
 
  • 专利类型:实用新型专利

  • 授权日期:2025.06.17

  • 申请单位:杭州千岛湖天鑫有限公司

  • 技术背景:高端精华、安瓶等化妆品对氧气极度敏感,传统真空瓶的泵体和连接处仍有氧气渗透,导致内容物氧化变质。

  • 创新分析:该专利实现了 “全密封分装” 的革命性概念。它将内容物预先密封在独立的PET阻隔袋内,使用时通过泵芯刺破才与外界连通。此后,随着按压,阻隔袋收缩形成真空,内容物与空气零接触。同时,可替换阻隔袋的设计也极大地减少了包材浪费,兼顾了极致保鲜与环保。

 09
 
 
 
 
 
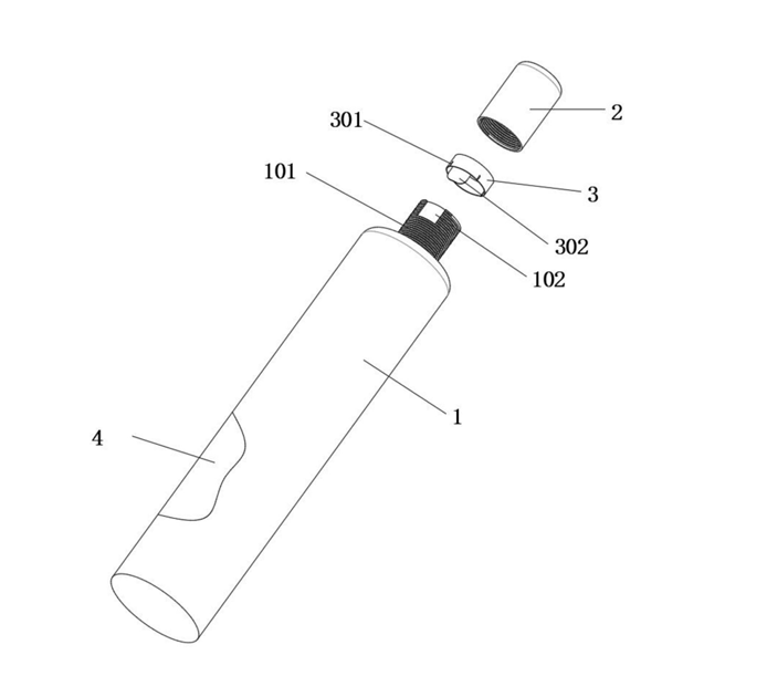
CN202422708609.6 一种高阻隔化妆品铝塑软管
 
 
 
 
 
 
  • 专利类型:实用新型专利

  • 授权日期:2025.10.14

  • 申请单位:扬州新长城塑业有限公司

  • 技术背景:铝塑软管在灌装后,管尾折叠处易因挤压导致微量泄漏;管身在运输中也易被刮擦,影响外观和阻隔层。

  • 创新分析:该专利进行了“全方位加固”。在管口,增加了铝箔阻隔封环,被螺纹和压环双重压紧,杜绝了灌装后的渗漏风险。在管身,不仅采用多层复合(PE/铝/EVOH等),更在外层涂覆了多功能防护涂层(抗刮、防水、抗菌),将软管的阻隔性从“防止内容物出来”延伸到了“防止外界损害进去”,提升了整体耐用性。

10
 
 
 
 
 
CN202422746307.8 一种高阻隔液体包装袋
 
 
 
 
 
 
  • 专利类型:实用新型专利

  • 授权日期:2025年9月12日

  • 申请单位:沧州汉诺塑料包装有限公司

  • 技术背景:传统塑料液体包装袋存在两大痛点:一是材料本身的阻隔性受温湿度影响大,在高温高湿环境下气体分子(如富氧水中的氢气)易渗透逸失;二是遮光性不足,紫外线易导致内容物(如果汁、药品、化妆品)氧化分解、变质变色。

  • 创新分析:该专利提出了一个简洁而有效的集成解决方案。其创新性体现在 “材料”与“结构”的双重加固上:材料层面,明确袋体采用遮光高阻隔材料(如铝箔),一步到位同时解决阻隔与避光需求;结构层面,创造了独特的 “袋嘴封口” 结构,将袋嘴完全密封于由袋体边缘延伸出的封口内部,这一设计将袋嘴这个潜在的泄漏薄弱点转化为由主体材料包裹的密封体,极大提升了整体气密性;使用便利,在袋嘴封口处设置易撕口,确保用户在需要时能轻松开启,兼顾了密封安全与使用便捷。

纵观这10项专利,一个清晰的演进路径已然显现:高阻隔包装的创新正从 单一的材质升级,迈向“结构、材料、场景、体验”深度融合的系统工程。无论是三层气腔瓶的抗撞设计,还是阻隔袋的全密封分装,都表明中国包装产业正在从 规模化制造 向 价值化创新 的关键转型。未来,包装不再只是容器,而是产品品质的 守护者、品牌价值的传递者、与用户交互的触点

 
 
 

精彩回顾

“上海博华”与“迎河展览”签订战略合作协议,携手打造2026上海国际个护新消费与创新展!

我国包装印刷行业上市公司去年市值排行!

首条纸瓶生产线落户青岛!

施潘德“吞金兽”烫金机引领印刷新技术革新!